基本信息:
±1(%)工作效率
79(%)
脈沖寬度調制(PWM)式輸入電壓
開關選擇90~132VAC/180~264VAC/輸出電壓:5V,7.5V,12V,13.5V,(V)
210W,210瓦(W)型號
S-210-5
80mV產品認證
UL
5(V)輸出電壓精度
±2(%)
MeanWell/明緯類型
AC/DC電源
詳細信息:
Untitled Document

■ 產品說明
持續生產了二十余年的經典安規認證機型,廣受歡迎.隨著技術進步,現已有更新的機型可以取代該系列,該系列機型將功成身退,即將停產,并且正在逐步漲價中,建議盡快改用以下升級機型,性能更好,價格更低,尺寸更小,效率更高。
NES-200-5SP-200-5
請到公司官網下載規格書,安規證書,測試報告,使用手冊等資料(將以下鏈接黏貼到瀏覽器地址欄):
http:///
■ 主要特點開關選擇交流輸入電壓范圍有短路保護/過載保護/過電壓保護/過熱保護國際安規認證UL/CUL上海樂茲科技,客服熱線400 600 0430自然通風冷卻90KHz固定開關頻率100%滿載老化測試LED指示電源工作狀態采用無鉛制程,符合環保RoHS要求臺灣明緯品牌,蘇州工廠生產2年質保 ■ 主要參數直流輸出范圍5V,0~40.0A輸出電壓精度±2%紋波80mV效率79%輸入電壓范圍由開關選擇88~132VAC/ 176~264VAC/或 248~370VDC輸入浪涌電流冷啟動,115V時為35A/230V時為50A電壓調整范圍額定輸出電壓的±10%過載保護過電流點在105%~150%時斷開,自動偵測自動復原過電壓保護額定輸出電壓的115%~145%時動作,自動偵測自動復原啟動,上升時間230VAC滿載時100ms,50ms企業QQ號400-600-0430絕緣特性輸入端與輸出端間: 3KVac,輸入端與外殼間: 1.5KVac, 輸出端與外殼間: 0.5KVac,1分鐘工作溫度-20~ 50℃(參考溫度降載曲線)抗震動性10~500Hz,2G 10分鐘/ 周期, XYZ各軸各60分鐘安規認證通過UL60950-1認證平均無故障時間≥24.47萬小時, MIL-HDBK-217F(25℃)接線方式9P/9.5mm端子排外形尺寸215×115×50mm (長×寬×高)機殼號912E重量及包裝0.95公斤/只; 每箱12只/ 12.4公斤/ 0.026立方米


■ 可選平裝方式


MHS012 (每套4只)
查看及選購該選件請點擊左圖
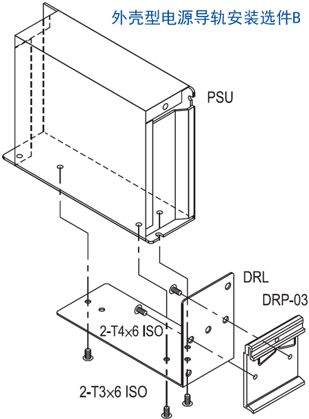
■ 可選導軌安裝方式 2

DRL-03 查看及選購請點擊上圖

DRP-03 查看及選購請點擊上圖
